| 專利名稱:一種散熱好高聚光防眩眼摩托車LED前大燈 專利類型:實用新型 申請號:2013202530889 申請日:2013.05.12 公告號:CN203273613U 公告日:2013.11.06 專利權人:廣州市雷騰照明科技有限公司 發明(設計)人:王旭明、陳煥杰 地址:511358廣東省廣州市花都區風神大道嶺西路雷騰工業園 分類號:F21S8/10(2006.01)I;F21V3/02(2006.01)I;F21V7/06(2006.01)I;F21V29/00(2006.01)I;F21W101/027(2006.01);F21W101/10(2006.01)N;F21Y101/02(2006.01)N 代理機構:廣州市紅荔專利代理有限公司44214 代理人:趙曉慧 收費信息:點擊查詢 |
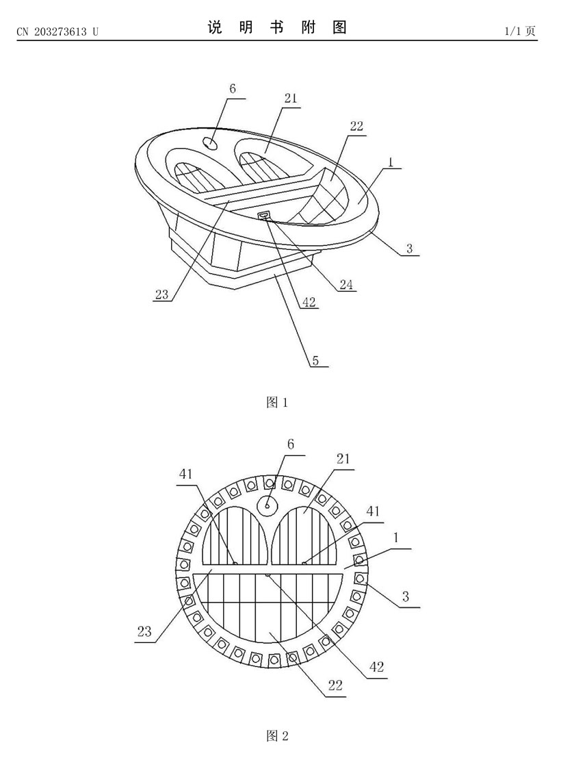
簡要說明: 同樣的發明創造已同日申請發明專利 本實用新型涉及一種摩托車LED前大燈,包括燈盤、鋁基PCB線路板、LED發光體、反射燈罩、玻璃透光蓋及散熱座,反射燈罩設有遠光區和近光區,遠光區和近光區之間設有一豎立的中空隔板,燈盤、反射燈罩和中空隔板一體制成,中空隔板相對遠光區和近光區的兩側邊的中部設有窗口,鋁基PCB線路板安裝在中空隔板內腔,LED發光體包括遠光LED燈珠和近光LED燈珠,單個遠光LED燈珠和近光LED燈珠分別從中空隔板兩側邊中部設有的窗口伸向遠光區和近光區。單個LED燈珠和鋁基PCB線路板分散設置,避免了LED燈珠熱量聚集;設置中空隔板,使散熱面積加大,提高了散熱效果;拋物線反射曲面提高了亮度和聚光效果,既不眩眼,又能做出多種光斑。 |










